|
Устройство для поиска биологически активных точек
|
|
| admin | Дата: Понедельник, 26.03.2012, 10:31 | Сообщение # 1 |
Группа: Администраторы
Сообщений: 249
Награды: 18
Репутация: 14
Статус: Оффлайн
| Очень подробно описано изготовление данного девайса здесь ссылка
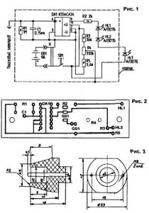
Для безмедикаментозной коррекции состояния организма широко используются методы стимуляции биологически активных точек (БАТ). или точек акупунктуры. Трудности применения этих методов возникают из-за сложности нахождения БАТ на теле человека, так как площадь БАТ не превышает 1 мм2. Контролируя предлагаемым устройством сопротивление участков кожи в местах предполагаемого нахождения БАТ, можно находить их легко и однозначно. Устройство размещено в металлическом корпусе размерами 96x38x39 мм. В корпусе находятся электрическая схема, элемент питания и выключатель. На одной торцевой стороне корпуса закреплен изолятор активного поискового электрода, а на другой стороне — светодиоды индикации. Пассивным электродом служит металлический корпус, который при поиске БАТ держат в руке. На рис.1 изображена схема устройства. К инвертирующему входу компаратора DA1 подключается активный поисковый электрод. Резистор R1 определяет входное сопротивление устройства, конденсатор С1 служит для фильтрации наводок, резистор R2 ограничивает ток индикаторных светодиодов HL1...HL3. Переменным резистором R4 регулируется напряжение, подаваемое на тело человека (через пальцы, удерживающие корпус устройства). Резисторы R3 и R5 ограничивают пределы изменения напряжения. Напряжение между поисковым и пассивным электродами—не более 5 В, ток — не более 0,5 мкА. Ток потребления устройства в ждущем режиме — 1 мА. а если светятся светодиоды — 5...бмА. Устройство выполнено на печатной плате, чертеж которой изображен на рис.2. На ней размещены все детали, кроме светодиодов и батареи питания. Плата рассчитана на применение переменного резистора СПЗ-9а, он установлен на плате на Г образном кронштейне. Возле ручки резистора можно приклеить шкалу (например, из 10 делений). Остальные резисторы — типа МЛТ. кнопка включения питания — микровыключатель МП-7. светодиоды— АЛ307Б. Питание устройства осуществляется от батареи "Крона". Конструкция поискового электрода позволяет нормализовать его давление на поверхность кожи. Чертеж изолятора с установленным в нем поисковым электродом приведен на рис.3. Изолятор изготовлен из органического стекла, эбонита или фторопласта, а для электрода лучше всего подходит штырек от разъема ШР (02 мм). Эти разъемы имеют серебряное покрытие контактов. Для удобства поиска точек на поверхности головы, спины или ног. один из светодиодов лучше сделать выносным и соединить с корпусом проводами длиной 0,5... 1 м. Если производится поиск БАТ на видимом участке кожи. то после нахождения точки можно слегка надавить на электрод. Тогда на поверхности кожи останется ясно видимый отпечаток изолятора, центром которого и будет искомая БАТ.
Ю.ПЛОТНИКОВ, г.Новосибирск.
|
| |
| |
| Eugene54321 | Дата: Четверг, 29.03.2012, 16:48 | Сообщение # 2 |
Группа: Друзья
Сообщений: 209
Награды: 8
Репутация: 5
Статус: Оффлайн
| Уважаемый Гость на этом Форуме, в теме Помогите найти точку (сообщение No.8), изложил свою просьбу, как умел. Точную формулировку воспроизвести затрудняюсь, но смысл примерно таков: "Уважаемый Eugene54321, могу ли просить Вас о любезности обнародовать Вашу схему для частотного поиска точек? Буду весьма Вам признателен."
Ну, что Вам сказать, уважаемый Гость...
Мы с уважаемым Admin'ом как раз обсуждаем, нужна ли народу схема с "живой" частотой или звуковой+световой сигнал на БАТ по схеме Плотникова досточно? Схема Плотникова проста в применении и изготовлении, оч.дёшева. Её принёс сюда уважаемый Radist, который её сделал, опробовал на практике, сопроводил восторженным отзывом и снял отличное видео её работы. А наш отличный Admin перенёс для Вас сюда весь материал.
Если Вам, по ознакомлению, окажется этой схемы недостаточно, если нужна частотная, то, пожалуйста, сообщите.
Но предупрекждаю Вас: она и сложнее, и в неск. раз дороже, и ток от батареи потребляет большой.
|
| |
| |
| Евгений1975 | Дата: Воскресенье, 15.04.2012, 02:43 | Сообщение # 3 |
Группа: Проверенные
Сообщений: 2
Награды: 0
Репутация: 0
Статус: Оффлайн
| Здравствуйте уважаемый admin! Очень интересует данное устройство поиска. Принцип понятен, сделать сам не смогу. Подскажите пожалуйста к кому можно обратиться, я бы купил. Не много о себе: прибор Эледиа изготовил самостоятельно еще лет 15 назад. Пользуюсь им с большим успехом, за столько лет не перестаю удивляться результатам (казалось бы пора привыкнуть), но каждая победа над болезнью вызывает восторг. Не скрою имею в своем арсенале гораздо более сложные и дорогие приборы, но при любом курсе, Эледиа имеет свое применение. Действительно, чем проще тем лучше, это как раз про него. Кстати то-же самое относится и к вышеописанному устройству поиска. Несколько лет назад был знаком с похожим устройством (может даже и с этим именно), скажу по опыту - больше ни чего и не надо. В принципе при поиске и Эледиа достаточно, но бывают ситуации когда световая и особенно звуковая индикации - это очень удобно, например при поиске труднодоступных, а так же ушных точек. Кстати прибор Эледия прекрасно подходит и для аурикулярных (ушных) точек, применяю их при каждом сеансе. Такое сочетание гораздо более эффективное, нежели только по корпоральным точкам. Но это отдельная тема, кому интересно можно пообщаться. На данном форуме я впервые и доволен тем, что есть люди увлекающиеся этой областью. Буду благодарен ответам о приборе "звуковой+световой сигнал на БАТ по схеме Плотникова". Сам имею много интересного по применению аккупунктуры. Есть желающие, с удовольствием буду общаться.
|
| |
| |
| Eugene54321 | Дата: Воскресенье, 15.04.2012, 11:53 | Сообщение # 4 |
Группа: Друзья
Сообщений: 209
Награды: 8
Репутация: 5
Статус: Оффлайн
| Уважаемый Евгений1975!
Добро пожаловать на наш Форум! Уверен, что Вы найдёте здесь много интересного для себя, и Ваш богатый опыт будет ценен нам всем.
Я бы спаял Вам схему Плотникова, но я очень далеко от Вас, и пересылка будет дорогой.
Многие из нас здесь могут спаять эту схему, но мне кажется, лучше просить уважаемого Radist'а. Он её паял, испробовал, встроил в ЭЛЕДИА, отснял видео. И он сказал о ней: "Давно не испытывал такого удовольствия от поиска БАТ". А ведь у него, как и Вас, очень много приборов, самых разных, включая, например, ЭЛЛАДА или АКСОН.
Уточним, однако: звуковой поиск есть в двух вариантах:
1. Звука нет, пока не наткнулись на точку. Наткнулись -- звучит сигнал всегда неизменной частоты. Это схема Плотникова и ей подобные.
2. Звук есть всегда. Коснулись кожи -- он выше. Подходите к БАТ -- тон повышается. На БАТ тон наивысший.
Какой вариант Вам нужен? Вы, пожалуйста, посмотрите видео Radist'а и решите, какой вариант звукового поиска Вам нужен. А тогда будем просить уважаемого Radist'а. Схема Плотникова у него есть, а по 2-му варианту я ему дам либо свою схему, либо схему уважаемого Коллеги с псевдонимом Шарлатан.
А если уважаемому Radist'у недосуг, то я знаю классных электронщиков в Лен-де: обратимся к ним.
ПРОСЬБА К ВАМ
Вы сообщаете: "Сам имею много интересного по применению акупунктуры. Есть желающие, с удовольствием буду общаться."
Могу ли я в связи с этим просить Вас о любезности прочесть мою хронику многомесячной борьбы с бессонницей моей жены. И высказать свои замечания. В последние месяцы пользуюсь методом Леднёва. Часто применяю широкий электрод. Перед стимулированием БАТ пропитываю эпителий водой. Поднял напряжение батареи до 18 Вольт (сохранив те же токи кор.замыкания).
Хроника подробно дана здесь на Форуме в темах Затяжная бессонница; Первая ласточка Победы и Подробности работы по Леднёву против бессонницы
Широкий электрод обсуждался также на этом Форуме, в теме Лечебный электрод большой площади
Буду весьма Вам признателен за любые замечания и советы.
|
| |
| |
| Евгений1975 | Дата: Воскресенье, 15.04.2012, 16:50 | Сообщение # 5 |
Группа: Проверенные
Сообщений: 2
Награды: 0
Репутация: 0
Статус: Оффлайн
| Здравствуйте, уважаемый Eugene54321. В первую очередь хочу поблагодарить Вас за ответ. Получив Ваше сообщение, начну изучать то, на что Вы ссылаетесь. Чтобы обстоятельно разобраться нужно время (к сожалению свободное бывает только ночью). А пока коротко, еще ни чего не прочитав, опираясь только на Ваш ответ.
1. Прибор поиска точек. Идеальная схема работы: На обычном участке кожи звука нет, при приближении появляется звук низкой частоты, в самой БАТ (ее проекции на коже) звук возрастает до писка. Как я понимаю все дело в тонкой настройке прибора. Точно знаю, что это возможно, т.к. сам пользовался и даже имею собранную схему. Но она сгорела еще несколько лет назад, один человек то ли полярность перепутал, то ли напряжение слишком высокое подключил, то ли не на те выводы его подал, уже не выяснить. Связь с самим изобретателем утрачена. Кстати он не имел ни какого отношения к аккупунктуре, просто гениальный радио электронщик еще советских времен. Ему были даны параметры проводимости кожи на разных участках (из книги Ф. Г. Портнова. ЭЛЕКТРО-ПУНКТУРНАЯ РЕФЛЕКСОТЕРАПИЯ) и он создал идеально работающую схему. Более удобного и точного поиска я еще не встречал ни в одном приборе. Судя по описанию схемы работы Плотникова, что-то похожее, по-этому хочу ее иметь. Так-же, в этом смысле хорош "МИКРО-ЭЛАП" Ф. Г. Портнова. Работал с ним, но купить не удалось, принципиальная схема со всеми параметрами имеется, но не найти специалиста, чтобы изготовить.
2. Как я уже указал, обязательно изучу материалы форума по бессоннице и электродам большой площади, и дам более подробный отчет, а пока вкратце личный опыт в общих вопросах: Бессонница, как функциональное состояние организма, может быть вызвана нарушением работы разных органов (каналов) у разных людей, все очень индивидуально. Например повышенное АД, может быть связано и с печенью, и с желчным, и с почками, и с толстым кишечником, и т.д. Не существует универсального сочетания точек и способов воздействия. Все прописи в литературе даются только на основе статистики (помогает большему количеству людей). Лично я беру какие либо сочетания, только в качестве основы, а дорабатываю всегда сам, в зависимости от ситуации (к вопросу,что Вы используете не все прописанные точки за сеанс), это может быть более разумно. Бывает можно восстановить баланс сразу в шести каналах, воздействием только на одну точку ЛО-пункт, и этого достаточно. Больше точек за сеанс, не значит лучше. Разбалансировать все каналы не проведя диагностики, а пользуясь только рекомендациями, можно еще больше навредить, организму может и не хватить энергии на такую "перекачку" из канала в канал. Вывод: успех в большей степени зависит от правильной диагностики и воздействие на точки нужно осуществлять с учетом их "поведения" в процессе лечения. Просто "пробегать" по рекомендуемым точкам, в указанной последовательности, целесообразно только когда болезнь точно установлена, как нарушение в определенном органе, например травма или артрит сустава, камни в почках, зубная боль и т.д. А бессонница, головная боль, АД и др. намного сложнее. В Вашем конкретном случае требуется полное понимание функционального состояния основных 12 органов, при чем левых и правых ветвей, в различных обстоятельствах (день/ночь, покой/стресс, до и после приема пищи), а также "минута" рождения - суточные колебания биоритмов, гипер/гипо функция канала, в данный момент. Т.е. требуется установить причину, провести диагностику. Трудный процесс, но только при таком подходе, возможен положительный результат. Если готовы к такой работе, могу в виде диалогов (требуются ответы по показателям организма), рассказать что и как надо делать. Возможно все это сделать и прибором ЭЛЕДИА, но для этого нужно очень хорошо понимать и знать классическую китайскую аккупунктуру, делать самостоятельные расчеты для составления курса, учитывая все классические каноны течения энергии по каналам. Можно и проще, уже имеются приборы, в которых все это учтено. Более подробно при дальнейшем общении.
3. Совсем коротко об электроде большой площади. В моем распоряжении есть различные сменные электроды: позолоченные, серебряные, нейтральные (стальные), латунные, все большей и меньшей площади. По опыту, в любом случае, пользуюсь только одним - тонким позолоченным. Всегда можно изменить силу тока, если больно, и изменить полярность, если требуется (тонизация либо дисперсия). Но это более, так сказать изыскано, если уж совсем "тонко" подходить к вопросу (есть интерес, можно и это более подробно обсудить). А прибор Леднева, тем и хорош, что все просто и эффективно!
P.S. Стоимость почтовой пересылки не останавливает. Здоровье БЕСЦЕННО!
|
| |
| |
| Eugene54321 | Дата: Понедельник, 16.04.2012, 09:50 | Сообщение # 6 |
Группа: Друзья
Сообщений: 209
Награды: 8
Репутация: 5
Статус: Оффлайн
| Уважаемый Евгений 1975! Благодарю за Ваш скорый и подробный ответ.
Прибор поиска точек. Идеальная схема работы: На обычном участке кожи звука нет, при приближении появляется звук низкой частоты, в самой БАТ (ее проекции на коже) звук возрастает до писка. Как я понимаю все дело в тонкой настройке прибора. Точно знаю, что это возможно, т.к. сам пользовался и даже имею собранную схему.
Как работает схема Плотникова, Вы, наверное, посмотрели. Она не варьирует частоту. Свою схему я делал в 2-х вариантах. Оба они звучат и вдали от БАТ и на ней. Устройств, молчащих вдали от БАТ, у меня нет: не имел времени разрабатывать. Даже схему уважаемого Коллеги с псевдонимом "Шарлатан" я не довёл (было некогда), а взял серийную микросхему генератора, управляемого напряжением, и подключил её так, как требовалось. Она потребляет 30 мА и включается кнопкой на щупе.
Если у Вас есть идеальное для Вас устройство, то может, сфотографируйте его, и восстановим принципиальную схему? Не исключено, что это многих заинтересует.
На Ваши заметки по бессоннице я, с Вашего разрешения, отвечу в той теме. Ссылка на неё не работала в моём предыдущем сообщении; уже исправил. По электродам -- тоже, отвечу в теме Электрод большой площади.
|
| |
| |
| ОлегВикторович | Дата: Вторник, 02.12.2014, 18:56 | Сообщение # 7 |
Группа: Проверенные
Сообщений: 311
Награды: 8
Репутация: 2
Статус: Оффлайн
| Цитата admin (  ) Очень подробно описано изготовление данного девайса здесь ссылка Это я сделал и там выложил такой прибор. Есть схема проще на транзисторах, от схемы детектора лжи. Намного эффективнее и проще в использование.
Добавлено (30.12.2013, 10:02) --------------------------------------------- http://www.masterkit.ru/info/magshow.php?num=87
отличная схема для поиска БАТ только за током следите, желательно под контролем микроамперметраДобавлено (02.12.2014, 18:56) --------------------------------------------- записал ролик как работает поиск в приборе Леднёва без переключателя. http://biorezonans.3bb.ru/viewtopic.php?id=303#p88095 ссылка там
Сообщение отредактировал ОлегВикторович - Понедельник, 30.12.2013, 10:04 |
| |
| |
| Taichi | Дата: Среда, 03.12.2014, 10:33 | Сообщение # 8 |
|
Группа: Проверенные
Сообщений: 51
Награды: 2
Репутация: 0
Статус: Оффлайн
| Цитата ОлегВикторович (  ) отличная схема для поиска БАТ А если приноровиться, можно обычной Эледией искать. Стрелка в точке отклоняется, а рядом - нет. Ведь так?
|
| |
| |
| ОлегВикторович | Дата: Среда, 03.12.2014, 15:15 | Сообщение # 9 |
Группа: Проверенные
Сообщений: 311
Награды: 8
Репутация: 2
Статус: Оффлайн
| кому как удобнее
|
| |
| |